客觀的說,昌暉儀表在看到這個專利時還是有點感嘆的,國外領導廠商多年前便已經在研究固態斷路器相關的技術和產品了,這需要相當強的前瞻性和定勢耐力......
目前來看,經過不斷的積累、沉淀,國外固態斷路器技術已經日趨成熟,尤其這兩年,各種類型的固態斷路器廠商和產品更是呈井噴的態勢,ABB、AtomPower、AmberSI、Blixt......
談到固態斷路器產品,不得不提ABB!
截止目前,ABB對固態斷路器的技術儲備:對應MCB領域,投資瑞典Blixt;對應MCCB領域,投資美國AtomPower;對應ACB領域,ABB自行研發SSCB。布局相當完善......
下面來看看ABB固態斷路器專利
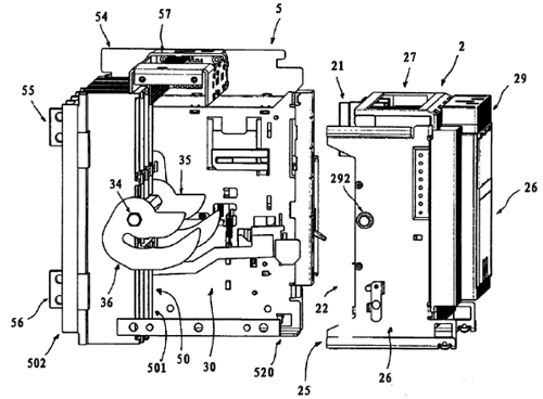
申請日:2013.07.23
專利權人:ABB股份公司
發明人:S.貝薩納、F·帕斯奎爾
技術領域
本發明涉及低電壓開關裝置的技術領域,例如電路斷路器、切斷開關、接觸器等,更特別是,本發明涉及一種具有開關單元的開關裝置,該開關單元包括一個或多個固態開關
背景技術
盡管已經證明傳統機電開關非常堅固和可靠,但是在直流電(“DC”)用途中和主要在相對較高電壓(高達1500V )時,分斷時間可能相當長,因此,電弧(該電弧通常在分離情況下在機械觸點之間放電)可能持續相對較長時間,因此可能產生嚴重的觸點磨損,從而明顯降低電氣壽命,即降低開關裝置能夠執行的開關操作次數
為了解決這樣的問題,已經設計了所謂的固態斷路器(“SSCB”),該固態斷路器對于各電極都采用一個或多個固態開關用于電流斷路目的,通常,固態開關是基于半導體的開關裝置,它能夠在on(開)狀態和off(關)狀態之間轉換。
SSCB的主要優點在于,因為它們的無電弧斷路操作,它們具有潛在的無限次數電氣壽命,而且,與機電開關裝置的分斷時間相比,它們的分斷時間明顯更短,另一方面,當固態開關處于on狀態時,SSCB通常需要強化冷卻,以便除去由流過固態開關的電流產生的熱量,甚至更相關的缺點在于SSCB不適合提供在電極的上游和下游連接部分之間的電流隔離,實際上,即使當固態開關處于off狀態時,也有很小電流(泄漏電流)流過固態開關。
為了減輕這些問題,已經發展了混合方案,其中,對于各電極,普通的機電開關與電極的固態開關并聯和/或串聯地電連接,混合固態斷路器已經證明在它們的操作中相當可靠和有效,但是它們也受到一些缺陷的影響:通常,它們相對龐大,很難在現場安裝;而且,它們具有相對復雜的結構布局,該結構布局以工業水平來實現時通常昂貴;另外,固態開關和機電開關的操作必須根據非常精確的時序和嚴格的正時來管理;因此,在市場上還要求能夠至少部分解決上述缺陷的技術方案。
發明內容
為了響應該需要,本發明提供了一種開關裝置,專利內容晦澀,低壓配電研發組提煉如下:
1、傳統機電開關結構
2、本體觸頭系統由固態開關取代
3、本體可電動或手動操作搖進
4、控制單元控制協調邏輯時序(分|退)
5、分斷與隔離功能一體化
6、簡化設計、縮小體積、降低成本
原文專利關鍵內容點
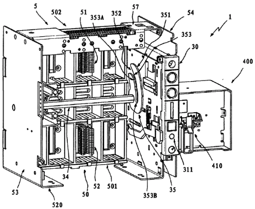
1、對于各電極,開關單元2包括一個或多個固態開關20,該固態開關20可以根據需要而串聯或并聯地電連接,該固態開關20優選是基于半導體的開關裝置,例如功率MOSFET、絕緣柵雙極晶體管(“IGBT”)、柵關閉可控硅整流器(GTO)、集成柵轉換可控硅整流器(IGCT)等。
2、開關單元2包括通氣組280,該通氣組280包括合適布置的通氣裝置28,該通氣裝置28與固態開關20操作相連,以便保證合適地除去在這些固態開關20操作時產生的熱量。
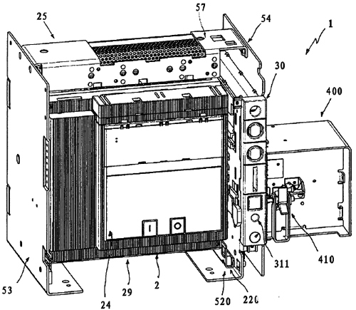
3、開關單元2可相對于支承框架5運動,即在插入位置A(圖17)和退回位置B(圖16)之間,反之亦然。
4、開關裝置2包括致動裝置3,用于使得開關單元2在所述插入位置A和退回位置B之間運動,反之亦然。
5、開關裝置1包括控制單元4,該控制單元設置成控制開關單元2和致動裝置3的操作
6、控制單元4包括控制裝置41,用于當開關單元2必須進行插入/退回操作時協調致動裝置3和固態開關20的操作;控制裝置41協調致動裝置3和固態開關20的操作,這樣,致動裝置3只在固態開關20處于off狀態時才使得開關單元2在插入和退回位置A、B之間運動以及相反。這樣,開關單元2的插入/退回操作總是在安全操作情況下進行,從而明顯減少了在相互連接/分離的觸點21、22、51、52處的放電現象,例如電弧。
7、實際上,電極與外部裝置或電源總線的電流連接/絕緣通過開關單元2的插入/退回操作來保證,而不采用專門的機電開關裝置。
8、執行結合的斷路和切斷功能的這種能力對于斷路/切斷操作的協調和在開關裝置的部件之間的交接提供了明顯的優點。
固態斷路器附圖如下



相關閱讀
斷路器正常使用及安裝條件
電機與配套的斷路器/接觸器/熱繼電器參數對照表
一文弄懂斷路器、隔離開關、負荷開關的區別與應用
