單晶硅微差壓變送器YR-ER101用于測量小于1kPa的液體、氣體或蒸汽的液位、密度、壓力及流量,輸出4-20mA+HART電流信號。微差壓變送器測量范圍(未遷移時)最小為100Pa,最大為1000Pa,精度0.1%,高穩定性、極低溫度漂移和長壽命是本產品核心技術亮點。
單晶硅微差壓變送器特點
1、極高穩定性、可靠性和極低溫度漂移,微差壓變送器零點、精和重復性度多年不變,長期運行免維護
微差壓變送器在國際上久負盛名的是羅斯蒙特。在勻速管差壓式流量計和鍋爐爐膛負壓測量中如果選用的微差壓變送器穩定性差、零點漂移大,將造成很大計量誤差
2、單晶硅微差壓變送器用采用瑞士原裝ROCKSENSOR壓力傳感器和電路生產,精度為±0.1%
3、專利雙過載保護膜片設計,單向過壓最高可達10MPa
4、單晶硅微差壓變送器優異的靜壓性能,遠非同場合電容式產品所能媲比,靜壓誤差最優可控制在:
◆ 靜壓傳感器選0時:SPAN A=±(0.5%URL+0.1%SPAN)/10MPa
◆ 靜壓傳感器選1時:SPAN A=±(0.025%URL+0.05%SPAN)/10MPa
5、單晶硅微差壓變送器最高10:1的量程比調節
6、單晶硅微差壓變送器電磁兼容性(EMC)符合GB/T 18268.1-2008
7、三種報警電流輸出模式用戶可選擇
8、微差壓變送器可自由編程組態,總線標準4-20mA+HART輸出

單晶硅微差壓變送器性能規格
◆ 單晶硅微差壓變送器YR-ER101調量程的參考精度(包括從零點開始的線性、回差和重復性)
YR-ER101-C系列:±0.1%
若TD>2.5(TD=最大量程÷調節量程),則YR-ER101-C精度:±(0.04×TD)%
◆ 環境溫度影響
①0.1%精度YR-ER101-C系列在-20~+65℃時總影響量為±(0.15×TD+0.05)%×Span;每10℃之間±0.08%×Span(TD=1時)
②0.1%精度YR-ER101-C系列在-40~-20℃和65℃-85℃時總影響量為:±(0.2×TD+0.05)%×Span
◆ 過范圍影響: ±0.1%×Span
◆ 靜壓影響:
靜壓傳感器選0時:SPAN A=±(0.5%URL+0.1%SPAN)/10MPa
靜壓傳感器選1時:SPAN A=±(0.025%URL+0.05%SPAN)/10MPa
◆ 穩定性:單晶硅微差壓變送器穩定性為±0.25%URL/10年
◆ 電源影響:±0.001%/10V(12-42VDC),可忽略不計
單晶硅微差壓變送器功能規格
◆ 量程和范圍

◆ 量程限:在量程的上下限范圍內,可以任意調整。建議選擇量程比盡可能低的量程代碼,以優化性能特征
◆ 零點設置:零點和量程可以調節到上面表中測量范圍內的任何值,只要:標定量程≥最小量程
◆ 安裝位置影響:與YR-ER101-C單晶硅微差壓變送器膜片面平行方向的安裝位置變化不會造成零漂影響,若安裝位置與膜片面超過90°的變化,會發生<0.4kPa范圍內的零位影響,可以通過調節調零校正。無量程影響
◆ 輸出
①二線制,4-20mA+HART輸出,數字通訊,可選擇線性或平方根輸出,HART協議加載在4-20mADC信號上;
②輸出信號極限:Imin=3.9mA,Imax=20.5mA
◆ 報警電流
①低報模式(最小):3.7mA;
②高報模式(最大):21mA;
③不報模式(保持):保持故障前的有效電流值;
④報警電流標準設置:高報模式
◆ 響應時間
①放大器部件阻尼常數為0.1s;傳感器時間常數為0.1-1.6s,取決于量程及量程比。附加的可調時間常數為:0.1-60s
②對非線性輸出(如平方根)的影響取決于該功能,并可據此計算
◆ 預熱時間:<15s
◆ 環境溫度:-40~+85℃;帶液晶顯示、氟橡膠密封圈時-40~+65℃
◆ 儲存溫度/運輸溫度:-50~+85℃;帶液晶顯示時-40~+85℃
◆ 工作壓力(硅油):額定工作壓力分為0.2MPa和7MPa兩擋
◆ 靜壓極限:從3.5kPa絕對壓力至額定壓力,保護壓力可大于額定壓力的1.5倍,同時加于單晶硅微差壓變送器兩側
◆ 單向過載極限:單向過載可達額定壓力
◆ 防爆性能:NEPSI隔爆許可:ExdⅡCT6;NEPSI本安許可:ExiaⅡCT4;允許使用溫度為-40~+65℃
◆ 電磁兼容性(EMC)

單晶硅微差壓變送器安裝
◆ 電源及負載條件
電源電壓為DC24V,R≤(Us-12)/Imax kΩ,其中Imax=23mA
最大電源電壓:36VDC
最小電源電壓:9VDC(低電壓版),13.5VDC(背光LCD液晶顯示、OLED顯示)
數字通訊負載范圍:250-600Ω
◆ 電氣連接:M20×1.5電纜密封扣,接線端子適用于0.5-2.5mm2的導線
◆ 過程連接:過程連接法蘭的兩端面有NPT1/4和UNF7/16"內螺紋
單晶硅微差壓變送器物理規格
◆ 材質:
測量膜盒:不銹鋼316L
膜片:不銹鋼316L、哈氏合金C、不銹鋼316L鍍金
◆ 過程法蘭:不銹鋼316
◆ 螺母及螺栓:不銹鋼(A4)
◆ 過程連接:不銹鋼316
◆ 填充液:硅油、氟油
◆ 密封圈:丁晴橡膠(NBR)、氟橡膠(FKM)、聚四氟乙烯(PTFE)
◆ 差壓變送器外殼:鋁合金材質、外表噴涂環氧樹脂
◆ 外殼密封圈:丁晴橡膠(NBR)
◆ 銘牌:不銹鋼304
◆ 單晶硅微差壓變送器重量:3.3kg(無液晶顯示、安裝支架、過程連接)
◆ 外殼防護等級:IP67
單晶硅微差壓變送器電氣連接圖

單晶硅微差壓變送器外形尺寸
◆平配管連接形式(正面)

◆水平配管連接形式(側面)

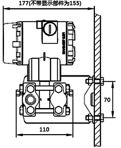
◆墻面連接形式

◆垂直配管連接形式

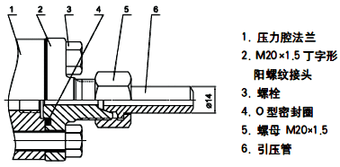
壓力變送器過程法蘭接頭
●1/2NPT不銹鋼橢圓形法蘭(代碼1)

●M20×1.5不銹鋼丁字型接頭(代碼2)

單晶硅微差壓變送器選型表
YR-ER101-①②③④⑤⑥⑦⑧⑨⑩?????-?
①精度
[C]:0.1%精度單晶硅微差壓變送器
②單晶硅微差壓變送器量程代碼
[A]:0-100Pa~1kPa(0-10~100mmH2O)
③靜壓傳感器
[0]:無
[1]:40MPa(僅適用于7MPa額定工作壓力)
④膜片材質/填充液
[A]:不銹鋼316L/硅油
[B]:不銹鋼316L/氟油
[C]:哈氏合金C/硅油
[D]:哈氏合金C/氟油
[E]:不銹鋼316L鍍金/硅油
[F]:不銹鋼316L鍍金/氟油
⑤工作壓力
[0]:額定工作壓力0.2MPa
[7]:額定工作壓力7MPa
⑥過程連接|泄放閥
[N]:1/4英寸NPT及7/16英寸UNF螺紋孔|無泄放閥
[B]:1/4英寸NPT及7/16英寸UNF螺紋孔|泄放閥裝于法蘭后部端面
[U]:1/4英寸NPT及7/16英寸UNF螺紋孔|泄放閥裝于法蘭側面上部
[D]:1/4英寸NPT及7/16英寸UNF螺紋孔|泄放閥裝于法蘭側面下部
⑦接液密封材料
[N]:丁晴橡膠(NBR)
[F]:氟橡膠(FKM)
[P]:聚四氟乙烯(PTFE)
⑧特殊功能
[N]:無
[F]:平方根輸出
[O]:禁油處理(氧氣測量限氟油填充液,氟橡膠密封圈、<6MPa、<60℃)
[P]:防雷擊功能
[X]:定制功能
⑨安裝支架
[N]:無
[1]:不銹鋼
[2]:鍍鋅碳鋼(標準配置)
⑩過程連接附件
[N]:無
[1]:1/2英寸NPT內螺紋不銹鋼橢圓形法蘭
[2]:M20×1.5外螺紋不銹鋼丁字形接頭
?液晶顯示
[N]:無顯示表頭
[2]:LCD背光液晶顯示(-20℃)
[3]:OLED顯示(-40℃)
?防爆選項
[N]:基本型
[A]:本安型,NEPSI
[D]:隔爆型,NEPSI
[B]:本安型,ATEX
[E]:隔爆型,ATEX
?位號標牌
[N]:無
[1]:位號位于銘牌內
[2]:懸掛式不銹鋼位號標牌
?說明書
[C]:微差壓變送器出廠時配中文說明書
[E]:微差壓變送器出廠時配英文說明書
?殼體選項
[N]:鋁合金殼體,電氣接口M20×1.5
[S]:不銹鋼316殼體,電氣接口M20×1.5
[T]:鋁合金殼體,電氣接口NPT1/2(無電纜引入裝置及盲堵)
?附加可選項
[V]:低電壓版
[1]:第三方檢測報告(5點檢測)
[2]:第三方檢測報告(9點檢測)
[M]:RS485-Modbus RTU通訊協議
[P]:Profibus PA通訊協議
單晶硅微差壓變送器選型舉例
YR-ER101-CA0A0BNF112N1CN
[C]:基本誤差±0.1%
[A]:量程為0-100Pa~1kPa(0-10~100mmH2O)
[0]:靜壓傳感器無
[A]:接液部分為不銹鋼316L膜片,填充液為硅油
[0]:額定工作壓力為0.2MPa
[B]:1/4英寸NPT的過程連接接口,7/16英寸UNF螺紋安裝孔,泄放閥裝于法蘭后部端面
[N]:接液密封圈為丁腈橡膠(NBR)
[F]:平方根輸出
[1]:不銹鋼安裝支架
[1]:配1/2 英寸NPT內螺紋不銹鋼橢圓形法蘭
[2]:LCD背光液晶顯示
[N]:基本型(非防爆變送器)
[1]:位號標于銘牌內
[C]:中文使用說明書
[N]:鋁合金殼體,電氣接口M20×1.5
對于微差壓變送器選型,建議大家看看兩篇文章,對您選到適合的微差壓變送器很有幫助
◆微差壓變送器選型應注意的問題(專家方原柏文章)
◆用微差壓變送器測量爐膛負壓,如何選用爐膛負壓變送器
