水泥廠專用熱電偶用于水泥廠窯尾煙溫或水泥熟料溫度測量,外護管耐氧化、耐硫化、耐磨、抗沖擊、耐液態鐵粉、石灰石等水泥料腐蝕、抗熱震性、使用壽命長、價格適中。水泥廠窯尾煙溫測量、水泥熟料測溫是水泥行業測溫難點,普通熱電偶不耐用,水泥廠專用熱電偶可很好解決這一難題,超時間穩定工作。

水泥廠專用熱電偶特點
水泥廠專用熱電偶保護管(鐵鋁瓷T5)具有耐氧化、耐硫化、耐磨、抗沖擊、耐液態鐵粉、石灰石等水泥料腐蝕、抗熱震性、使用壽命長、價格適中和長期使用的特點,整支產品具有抗震動結構設計。
水泥廠專用熱電偶使用壽命
水泥窯窯尾煙溫、水泥熟料測溫熱電偶的一般使用壽命為4個月。
熱電偶允差

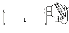
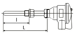
水泥廠專用熱電偶外形示意圖
1、無固定裝置水泥廠專用熱電偶

2、螺紋安裝水泥廠專用熱電偶

3、活動法蘭水泥廠專用熱電偶

4、固定法蘭安裝水泥廠專用熱電偶

5、螺紋安裝水泥廠專用防爆熱電偶

6、固定法蘭安裝水泥廠專用防爆熱電偶

水泥廠專用熱電偶選型表
WR①②-③-④⑤⑥⑦⑧-⑨/⑩/?-?-?
①溫度傳感器類別
[N]:K型熱電偶(鎳鉻-鎳硅)
[P]:S型熱電偶(鉑銠10-鉑)
②熱電偶對數
[省略]:單支熱電偶
[2]:雙支熱電偶
③熱電偶特殊用途標記
[NM]:耐磨結構設計
④安裝固定形式
[1]:無固定裝置
[2]:固定螺紋(螺紋尺寸由使用單位提供)
[3]:活動法蘭
[4]:固定法蘭安裝(法蘭尺寸由使用單位提供)
⑤ 熱電偶接線盒
[3]:防水接線盒
[4]:防爆接線盒
[5]:不銹鋼接線盒
⑥ 熱電偶直徑
[0]:Φ16mm套管
[1]:Φ22mm套管
[2]:Φ25mm套管
⑦耐磨頭材料/最高使用溫度/用途
[5]:鐵鋁瓷T5/1000℃/專用于水泥廠窯尾煙溫或水泥熟料溫溫度測量
[N]:特殊保護管材質和結構定制產品
⑧測溫元件形式
[0]:國產偶絲/國標偶絲直徑/常規供貨
[7]:國產GH3039保護管Φ6mm鎧裝熱電偶芯
[8]:德國進口Inconcl鎳基合金外護管鎧裝熱電偶芯/常規配置
[9]:德國進口偶絲/超長使用壽命
⑨熱電偶總長L(單位:mm)
[***]:***/注1
⑩插入長度l(單位:mm)
[***]:***/注1
?耐磨段長度
[3]:耐磨頭長度300mm(通常直徑Φ16mm耐磨熱電偶選用)
[4]:耐磨頭長度400mm(通常直徑Φ22mm耐磨熱電偶選用)
[5]:耐磨頭長度500mm(通常直徑Φ25mm耐磨熱電偶選用)
[9]:其他尺寸
?熱電偶精度等級
[2]:Ⅱ級精度/國內熱電偶生產廠常規供貨
[1]:I級精度/協議供貨
?固定法蘭和非標準螺紋安裝補充說明
[螺紋要求]:螺紋尺寸及材質要求/見注2
[法蘭要求]:法蘭規格尺寸及法蘭材質要求/見注2
注1:WR□□-NM-13□□□和WR□□-NM-33□□□型水泥廠專用熱電偶選型時僅需要確認總長L(總長等于插深)和耐磨段長度即可;WR□□-NM-2□□□□和WR□□-NM-4□□□□型水泥廠專用熱電偶選型時必須標注總長、插入深度和耐磨段長度,通常約定:總長=插深長度+150mm。
注2:水泥廠專用熱電偶如選用固定法蘭或螺紋安裝方式,用戶訂貨時必須標注法蘭標準/法蘭規格/法蘭材質或螺紋尺寸/螺紋材質要求。
